
產品簡介:
WD型外裝式電動滾筒是二級齒輪,減速機構置于筒形外殼內,外接立式電動機,用于帶式輸送機的一種新型驅動裝置,大大改善了電動機的散熱條件,適用范圍更大,且裝拆、維修方便,是各類帶式輸送機理想的驅動裝置。WD型具有單向旋轉,反向逆止功能。
WD 型外裝式電動滾筒系列參數表:


WD型外裝式電動滾筒
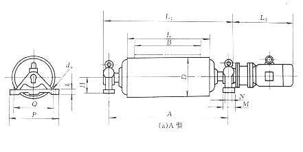
外形安裝尺寸圖:


訂貨說明:
訂貨注意事項:
(1).因目前外裝式電動滾筒尚未制定相關行業標準,本廠將該型號電動滾筒首位代號用W(“外裝”的首位漢語拼音)表示。外裝式電動滾筒外置電機可分為立式電機和臥式電機,用戶訂購時請加以說明;
(2).用戶訂購逆止電動滾筒時,須注明旋轉方向,如不注明則為任意方向。其表示方法為在特性代號后加“S”(表示在電機引出線一側觀察,端蓋應順時針旋轉)或“N”(表示在電機引出線一側觀察,端蓋應逆時針旋轉);
(3).電動滾筒應當水平安裝,最大傾角不應超過5°。電動滾筒工作的環境溫度為-10℃~40℃,物料溫度小于60℃,海拔不超過1000米,如工作環境超過上述范圍,請與本廠聯系。